Actualité

Divers

Apple : un écran qui passe d'un mode écran à un mode touch

Par Arnaud Morel - Publié le

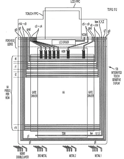
Un brevet Apple, déposée en août 2009 et publié cette semaine, dévoile les réflexions de Cupertino en matière d'écran multitouch pour ordinateur de bureau.Apple y explique que ces écrans posent quelques problèmes : surconsommation électrique du fait des circuits de détection multitouch activés et "faux positifs" quand l'utilisateur se sert de son écran comme simple..Écran.

Pour y remédier, Cupertino propose un interrupteur permettant de basculer du mode écran au mode multitouch. Le chip permettant cette bascule pourrait même être suffisamment compact pour être intégré dans des modèles déjà conçus, sans nécessiter une refonte totale du produit.

Apple : un écran qui passe d'un mode écran à un mode touch


Source