Actualité

iPad

Brevet : un Apple Pencil capable d'échantillonner les couleurs d'objets physiques

Par June Cantillon - Publié le

Les ingénieurs de Cupertino plancherait sur le moyen d'échantillonner des couleurs du monde réel à l'aide de l'Apple Pencil.

Brevet : un Apple Pencil capable d'échantillonner les couleurs d'objets physiques


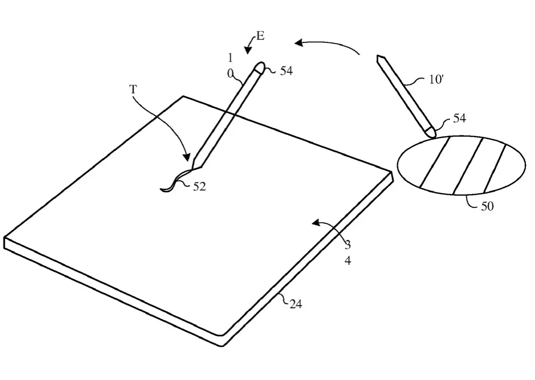
Le brevet en question, intitulé Système informatique avec stylet d'échantillonnage de couleur, décrit un stylet équipé de plusieurs détecteurs photosensibles capables de prendre des mesures de la répartition spectrale d'une source lumineuse (d'un objet dans ce cas), afin d'en déterminer et d'en échantillonner la couleur.

Il serait alors possible de scanner rapidement et simplement un objet du monde réel avant d'en utiliser la couleur au sein d'un logiciel de création. Ce type de technologie embarquée au sein de l'Apple Pencil pourrait également permettre d'autres usages intéressants, comme étalonner des périphériques (moniteurs, imprimantes), ou encore fournir des mesures liées à la santé.