Actualité

Watch

L'Apple Watch pourrait alerter automatiquement les secours en cas de malaise cardiaque

Par Arthur de la Brosse - Publié le

Apple continue d'explorer plusieurs pistes pour de futures évolutions potentielles de l'Apple Watch.

Cette semaine, un brevet validé et publié par l'USPTO décrit par exemple la façon la montre, couplée à un iPhone, pourrait détecter un état d'urgence médical, comme une crise cardiaque, et alerter automatiquement les secours.

L'Apple Watch pourrait alerter automatiquement les secours en cas de malaise cardiaque

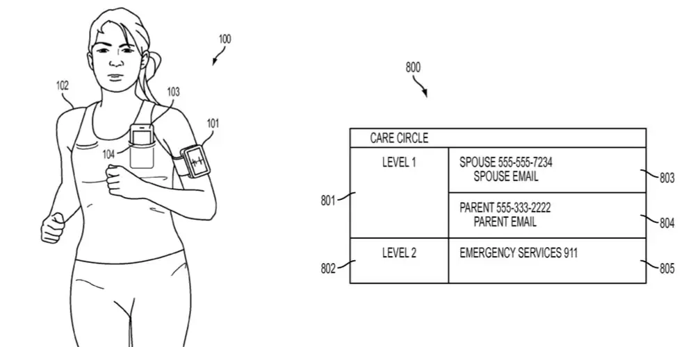
D'après le document déposé par la Pomme, un appareil électronique pourrait ainsi reconnaitre un ou plusieurs signes avant-coureurs d'un problème de santé à l'aide de ses capteurs embarqués, avant de transmettre ces enregistrements à un appareil tiers.

Ce dernier serait alors chargé d'analyser la situation et de prendre une décision en fonction du niveau d'alerte. En cas de risques faibles, un simple courriel pourrait ainsi être envoyé à un membre de la famille, tandis que les cas d'urgence déclencheraient automatiquement un appel vers les services de secours.

Source (via)