Actualité

Audio

Apple plancherait sur un système Home-Cinema (à base de HomePod ?)

Par June Cantillon - Publié le

Apple pourrait mettre à profit ses installations et ingénieurs spécialisés dans l'audio pour proposer un système Home Cinema.

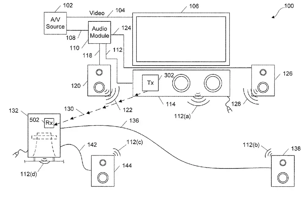
Le brevet numéroté 10 575 095 évoque ainsi un concentrateur de haut-parleurs, avec ou sans fil, pour un système Home Cinema. Apple précise qu'un tel système devrait permettre d'immerger les spectateurs en prenant en charge l'affichage sur un téléviseur (via une Apple TV ?) tout en acheminant le signal audio vers plusieurs haut-parleurs.

Cupertino évoque alors le souci du câblage des différentes enceintes, et pense pouvoir apporter sa propre vision à l'aide d'éléments sans fil, décrivant les différentes solutions envisagées. Un tel système serait intéressant, mais l'utilisation de plusieurs HomePod ferait rapidement monter la note finale. A moins qu'Apple ne propose des versions plus abordables, pourquoi pas équipées d'entrées auxiliaires.

Apple plancherait sur un système Home-Cinema (à base de HomePod ?)