Actualité

Divers

Un supposé prototype d’AirPower dévoile ses dessous sur le web [photos]

Par Laurence - Publié le

Malgré son abandon, l’AirPower continue de susciter bien des interrogations. iClarified (via Mr.white) vient de publier une vidéo sur bilibili montrant le démontage d'un prétendu prototype d’AirPower et révélant un design assez complexe.

Un supposé prototype d’AirPower dévoile ses dessous sur le web [photos]


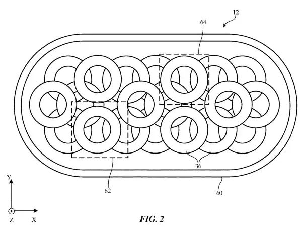
On peut y voir quatorze bobines de charge sans fil, superposées pour permettre de charger plusieurs produits en même temps. On remarque d'ailleurs qu'elles sont agencées selon un schéma qui n'est pas sans rappeler certains brevets récemment déposés par Apple. On découvre également un cadre métallique ressemblant un peu à celui d'un clavier sur le dessus. Et également un port Lightning à l'arrière.

Un supposé prototype d’AirPower dévoile ses dessous sur le web [photos]


Initialement dévoilé en septembre 2017 aux côtés de l'iPhone X, l'AirPower était censé être capable de charger un iPhone compatible Qi, une Apple Watch et une paire d'AirPods (dans un étui de chargement sans fil spécial) simultanément. Cependant, des rumeurs constantes de difficultés de production, d'ingénierie et de fabrication ont eu raison du projet qui a été officiellement abandonné en mars 2019.

Si l'AirPower a été abandonné avec pertes et fracas, Apple continue de déposer des brevets auprès de l'USPTO, ne manquant pas de soulever certaines interrogations. La firme aurait-elle la volonté de relancer ce projet ou bien essaie-t-elle tout simplement de protéger son concept mort-né et d'éviter d'être liée par un concurrent ou encore un patent troll ?


Source