Actualité

Divers

Et si les Apple Glasses se nettoyaient toutes seules ?

Par Laurence - Publié le

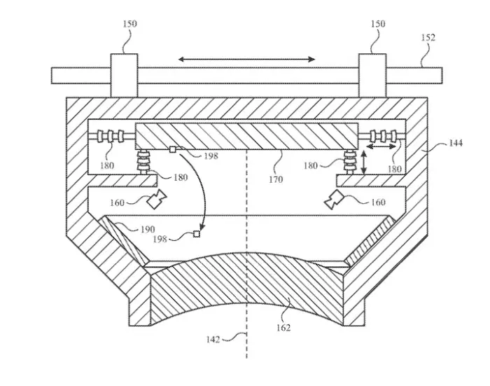
Parmi les brevets intéressants du moment, les pages de l'USPTO proposent quelques informations sur les Apple Glasses, dont il est beaucoup question ces derniers temps. Ainsi, ces dernières pourraient être dotées de capacités auto-nettoyantes.

Le brevet précise que les lunettes (ou le casque) seraient équipées d'un système de contrôle des particules, elles pourraient détecter et enlever automatiquement la poussière ou les petits impuretés. Et si on regarde de plus près le schéma, on se rend compte que le processus ressemble fortement à des mini essuie-glaces, même si Cupertino semble préférer un système par vibration !

Le reste du brevet n'offre pas beaucoup de précisions, hormis des remarques d'Apple sur les conséquences des saletés sur un écran, comme la baisse de la résolution, l'inconfort lors de l'utilisation ou encore la dégradation, l'érosion, le frottement, l'usure et/ou le vieillissement des composants

Et si les Apple Glasses se nettoyaient toutes seules ?