Actualité

Mobilité

carOS : les écrans de la console s'afficheraient par transparence

Par Laurence - Publié le

Loin de faire taire les rumeurs, Apple continue de travailler sur son Apple Car, ou sur son système de navigation. L'USPTO révèle en effet un nouveau brevet sur l'intégration des écrans. Ce dernier porterait sur l'ordinateur de bord du véhicule.

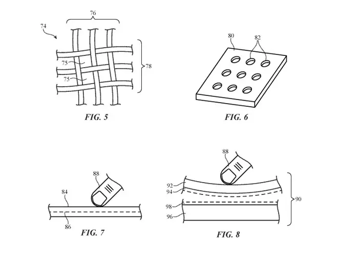
Pour Apple, de nombreux systèmes d'affichage sont encombrants et inesthétiques. Aussi, travaille-t-elle sur un ensemble fonctionnel et attrayant, d'un tout nouveau genre. Il s'agirait de cacher les écrans de la planche de bord ou de la console sous un revêtement très particulier. Ce dernier pourrait être en cuir, en tissu, en bois, en plastique, en métal, ou en fibre-composite. L'affichage s'effectuerait par transparence, via des modules générant de la lumière au travers.

Au delà de ce procédé assez inhabituel, il est également questions d'introduire un retour haptique, et d'inclure des boutons physiques (toujours sous le tissu). L'ensemble serait truffé de capteurs divers et variés.

carOS : les écrans de la console s'afficheraient par transparence


Source