Actualité

Watch

Brevet : une batterie dans le bracelet de l'Apple Watch

Par Laurence - Publié le

Un des défauts de l'Apple Watch est son autonomie limitée par rapport à d'autres modèles concurrents. Même avec la Series 5 et le dernier watchOS, il est compliqué pour certains de dépasser la journée (ou d'envisager la nuit sans avoir à la recharger au petit matin). Mais Apple travaillerait à une solution pour remédier à cette situation : inclure une batterie auxiliaire dans le bracelet !

Brevet : une batterie dans le bracelet de l'Apple Watch


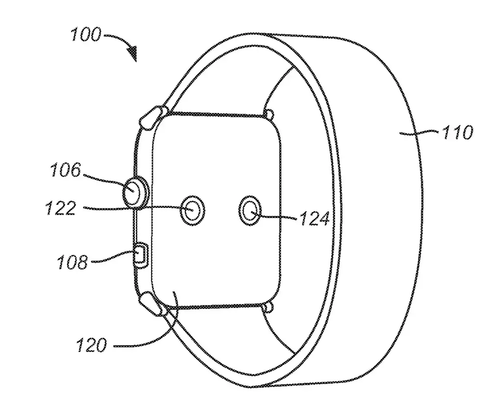
Dans les notes du dépôt de brevet, Apple revient sur cette problématique et l'impossibilité d'utiliser toutes les fonctions de sa montre pendant la charge. Aussi elle développe un concept de bracelet intelligent, qui permettrait de faire les deux.

Pour cela, la montre bénéficierait d’un dispositif auxiliaire qui comprendrait un boîtier, un système de charge et un mécanisme de fixation pour se fixer à l’Apple Watch pendant l’utilisation. La manière de faire tenir (sans gêner) ce dispositif n’est pas claire : s’agirait-il véritablement de fixer le boîtier de charge à la tocante comme une excroissance ou de lier les deux via un petit câble ?

Source