Actualité

Audio

Des AirPods qui lisent sur les lèvres (mais pas que)

Par Laurence - Publié le

Au vu des derniers brevets, les grands projets d’Apple pour ses AirPods se dessinent pour en faire de véritables assistants, discrets mais capables d’exécuter des commandes sans qu’un mot ne soit prononcé.

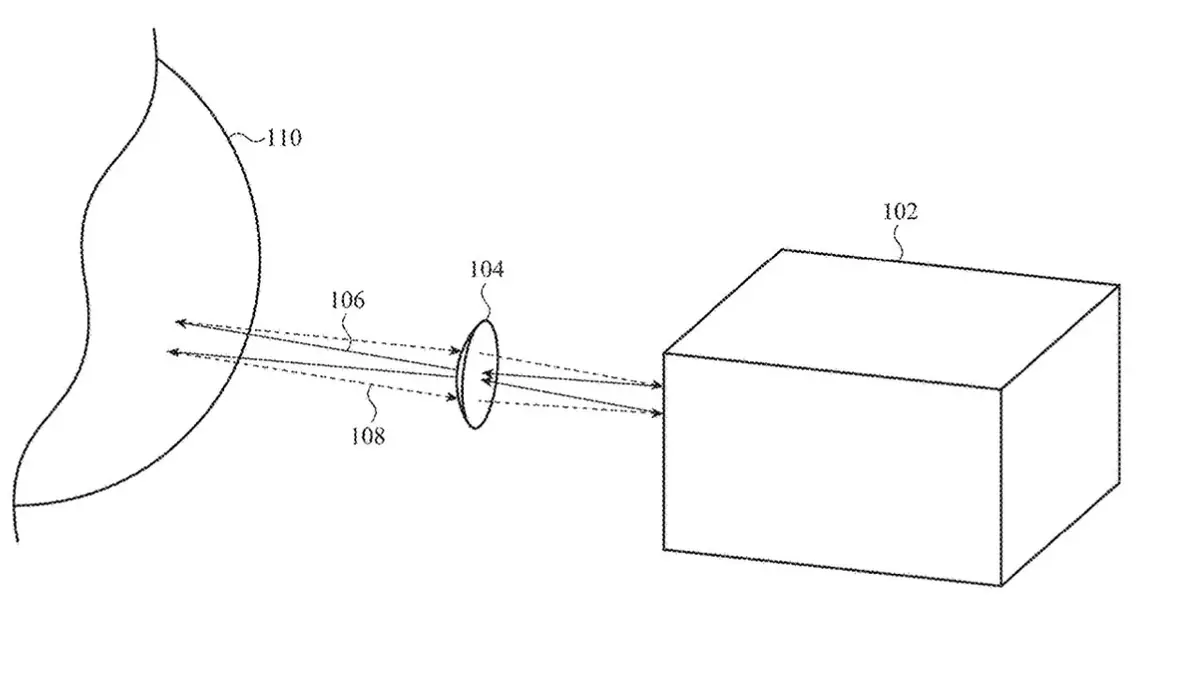
Et justement, ce dernier document récemment publié évoque une technologie permettant de détecter les mouvements de la peau et des muscles faciaux -jusqu’aux plus subtils d’entre eux- pour interpréter des gestes silencieux comme des commandes.


Apple Brevet AirPods


Comprendre au delà des mots



En 2024, Apple a introduit la possibilité de répondre ou rejeter un appel d’un simple hochement ou d’un mouvement de tête avec les AirPods Pro, mais elle entend aller beaucoup plus loin. Le brevet, intitulé Wearable skin vibration or silent skin gesture detector, décrit une technologie capable de capter des micro-déformations de la peau, voire des vibrations musculaires, pour détecter des gestes tels qu’un sourire, un mouvement de lèvres, ou même une commande chuchotée.

Ces gestes seraient détectés à l’aide de capteurs de type VCSEL (pour Vertical Cavity Surface Emitting Laser), qui ont déjà été utilisés dans Face ID, combinés à des capteurs d’interférométrie auto-mélange. Ces derniers pourraient être intégrés dans les tiges des AirPods ou même orienté vers l’intérieur de l’oreille pour détecter les plus petits mouvements du conduit auditif ou des muscles environnants de son porteur.

Des AirPods qui lisent sur les lèvres (mais pas que)


Outre la possibilité d’interagir avec ses écouteurs sans avoir à parler distinctement -pratique dans les lieux publics ou bruyants-, cette technologie pourrait également servir à authentifier l’utilisateur. En analysant les vibrations uniques de la peau lorsque l’utilisateur prononce un mot-clé ou une commande, les AirPods seraient en mesure de vérifier si c’est bien leur propriétaire qui parle.

Cela serait une réponse directe aux limites actuelles de la reconnaissance vocale ou tactile : dans certains cas, on ne peut ni parler clairement ni toucher un bouton. Ici, Apple ouvre la voie à une interaction plus fluide, plus naturelle et plus sécurisée.

Un champ d’application plus large que les AirPods



Si les AirPods seraient les premiers candidats pour cette technologie, Cupertino n'entend pas s'y limiter, tout du moins sur le papier. Le brevet mentionne également la possibilité d'utiliser cette méthode à d’autres wearables, comme les lunettes connectées ou l’Apple Watch.

Des AirPods qui lisent sur les lèvres (mais pas que)


On imagine aisément des interactions gestuelles silencieuses à travers une gamme d’accessoires de plus en plus connectés, notamment avec la montre. Cette dernière pourrait interpréter davantage de gestes, comme le pincement des doigts et les autres fonctions d'Assistive Touch.

Cette initiative s’inscrit dans une stratégie qu’Apple mène depuis plusieurs années. Après les gestes, les commandes vocales, et l’arrivée prochaine de l’Apple Intelligence, les commandes silencieuses pourraient devenir une nouvelle norme d’interaction.