Actualité

Divers

Apple imagine une batterie externe avec dissipateur thermique !

Par Laurence - Publié le

Alors que l'été est une nouvelle fois la proie des fuites et rumeurs en tout genre, voici que l'USPTO permet de revenir un peu à la réalité. En effet, on peut y trouver régulièrement un aperçu un peu plus fiable des travaux en cours d'Apple, même si un brevet ne donne pas toujours naissance à un produit ou un service.

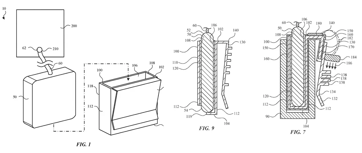
Ce dernier document publié dévoile un concept assez innovant de batterie externe dotée d’un clip qui fait aussi office de dissipateur thermique. Ce design permettrait de maintenir les appareils au frais, même lorsqu’ils sont rangés dans une poche ou un sac, où la chaleur tend à s’accumuler et à réduire les performances.


iPhone brevet Smart Battery Case


quand ça chauffe de trop



Que ce soit pour un iPhone, une Apple Watch, un iPad ou même un MacBook, les batteries externes ont tendance à chauffer un appareil déjà tiède pendant l’utilisation. Or, cette chaleur excessive peut forcer les systèmes à brider leur puissance -un phénomène appelé power throttling- qui se traduit par une baisse des performances, des ralentissements ou des coupures prématurées. Le scénario est aggravé quand la batterie est transportée dans une poche ou un sac, où l’absence de circulation d’air accentue l’accumulation thermique.

Apple imagine une batterie externe avec dissipateur thermique !


Apple travaille donc sur un étui-batterie doté d’un clip intégré qui sert à la fois de fixation pratique et de mini dissipateur thermique. Celui-ci se fixe mécaniquement à la batterie tout en assurant un transfert thermique optimal.

Grâce à ce système, la chaleur est efficacement captée et éloignée des zones les plus chaudes -comme la zone #58 spécifiquement identifiée dans le brevet- puis dissipée dans l’air ambiant, même lorsque l’ensemble est partiellement glissé dans une poche. Tiens ça rappelle un peu la Smart Battery Case...

Rien à voir avec la route éponyme...
Rien à voir avec la route éponyme...


Comment ça marche ?

Le clip se connecte à la fois mécaniquement et thermiquement à l’étui et à l’appareil alimenté. Il va rediriger la chaleur générée par la batterie vers sa surface externe, où elle peut être évacuée naturellement. Ainsi, les performances sont maintenues plus longtemps, sans throttling, avec une expérience utilisateur plus fluide.


Conçu pour tous les appareils portables Apple



Ce concept pourrait se décliner pour une large gamme d’appareils : iPhone, iPad, Apple Watch, Vision Pro, MacBook, dispositifs de suivi de santé… D'après les schémas, Cupertino envisage aussi d’y intégrer des éléments interactifs comme des boutons, écrans tactiles, microphones ou haut-parleurs pour enrichir l’expérience.

L’étui peut être utilisé de manière hybride : partiellement à l’intérieur d’une poche pour un transport sécurisé, tout en laissant le clip dissipateur exposé pour maximiser l’évacuation thermique.

Notons enfin que ce brevet liste trois inventeurs, dont celui de David Dunsmoor, Product Design Manager au sein du Vision Products Group d’Apple, qui apparaît comme le concepteur principal derrière cette approche.

Apple imagine une batterie externe avec dissipateur thermique !