Actualité

Auto

Devinez ce que Stellantis veut ajouter sur ses futures voitures électriques ! (oui oui)

Par Vincent Lautier - Publié le

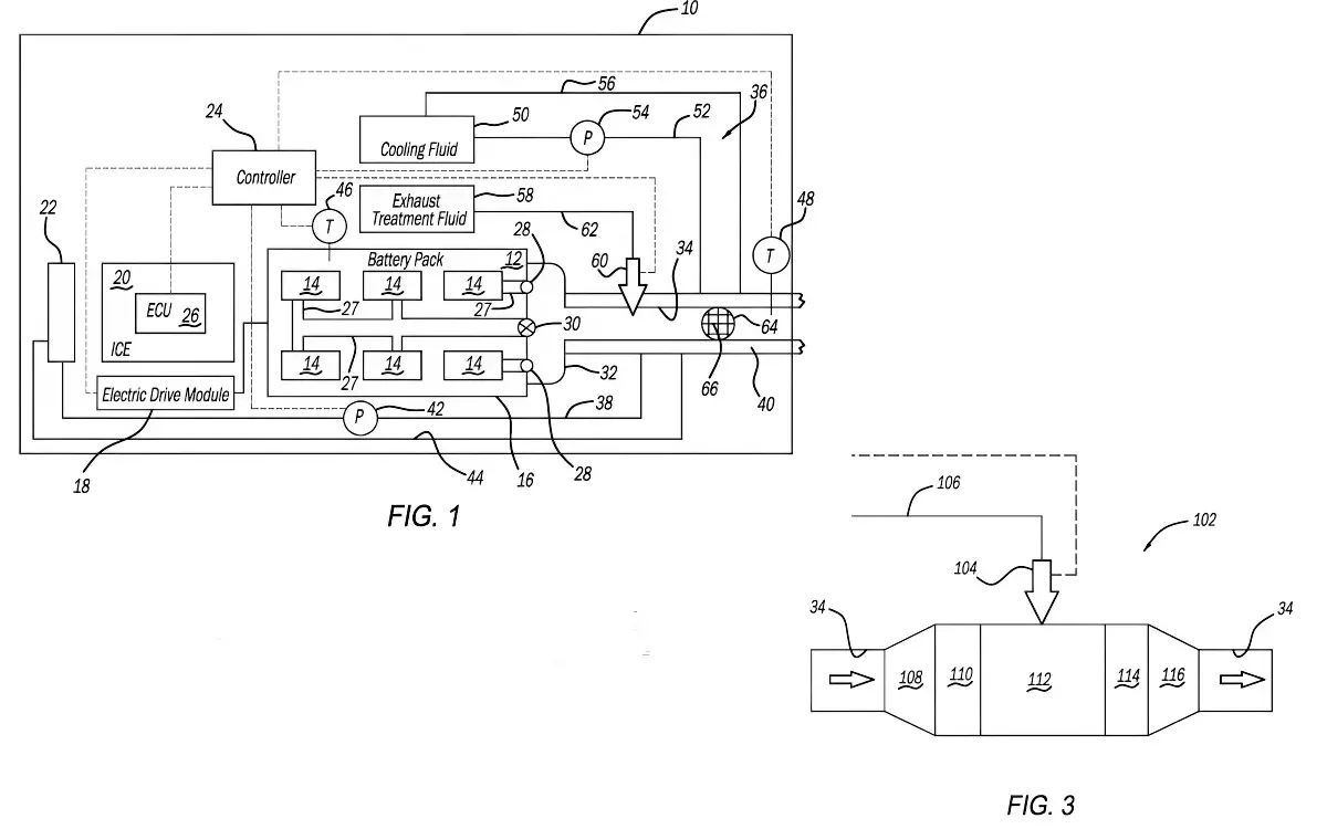
Un pot d’échappement sur une voiture électrique, sérieusement ? L’idée peut sembler absurde, mais Stellantis a une bonne raison de plancher sur ce concept. Le constructeur a déposé un brevet pour un système d’évacuation des gaz inflammables issus des batteries en cas de surchauffe. L’objectif ? Réduire les risques d’incendie et rendre les véhicules électriques plus sûrs.

Devinez ce que Stellantis veut ajouter sur ses futures voitures électriques ! (oui oui)


Pourquoi un échappement sur une voiture qui n’en a pas besoin ?



D’habitude, le pot d’échappement sert à évacuer les gaz de combustion des moteurs thermiques. Sauf que, dans le cas des voitures électriques, il n’y a pas de carburant à brûler. Mais il y a autre chose : les batteries. Et quand elles surchauffent, elles peuvent libérer des gaz inflammables comme l’hydrogène, le méthane ou le propane. Si ces gaz restent piégés à l’intérieur du pack batterie, ils peuvent provoquer une explosion ou un incendie.

C’est là qu’intervient l’idée de Stellantis : installer un système qui détecte ces gaz et les expulse à l’extérieur du véhicule avant qu’ils n’atteignent un seuil critique. Un peu comme une soupape de sécurité, mais version high-tech.

Devinez ce que Stellantis veut ajouter sur ses futures voitures électriques ! (oui oui)


Un traitement des gaz avant leur évacuation



Le brevet ne se contente pas d’évacuer ces gaz n’importe comment. Stellantis a prévu un système de filtration et de traitement chimique pour limiter la toxicité des rejets. Une sorte de catalyseur appliqué aux batteries, histoire de ne pas simplement déplacer le problème ailleurs.

Le dispositif fonctionnerait automatiquement grâce à des capteurs surveillant en permanence la température et la pression à l’intérieur du pack batterie. Si un emballement thermique est détecté, l’évacuation se déclenche immédiatement.

Le brevet en question
Le brevet en question


Une solution qui pourrait devenir un standard ?



Même si les incendies de voitures électriques restent rares, ils sont particulièrement difficiles à maîtriser lorsqu’ils se produisent. On se souvient du cargo Felicity Ace, qui a brûlé pendant des jours avec 4 000 voitures à bord, ou encore de cette Renault Zoé qui a incendié une maison entière en 2024.

Stellantis n’est pas le seul à chercher des solutions. Bosch planche de son côté sur des mini-explosions contrôlées pour isoler une batterie en cas de problème. Mais si le système d’évacuation de Stellantis s’avère efficace, il pourrait bien être adopté par toute l’industrie.



Un pot d’échappement sur une voiture électrique, ce n’est donc pas juste un gadget. C’est peut-être la prochaine grande innovation en matière de sécurité. Puis bon, ça donnera peut-être un petit look encore plus sportif à certains modèles !