Actualité

Auto

Oui oui, Ford veut remettre un levier de vitesse dans ses voitures électriques

Par Vincent Lautier - Publié le

Ford a déposé un bien curieux brevet, pour un levier de vitesse factice destiné à ses véhicules électriques. L’idée : retrouver les sensations d’une boîte manuelle, même sans moteur thermique ni véritables rapports à passer.

Oui oui, Ford veut remettre un levier de vitesse dans ses voitures électriques


Un levier pour simuler les boîtes manuelles



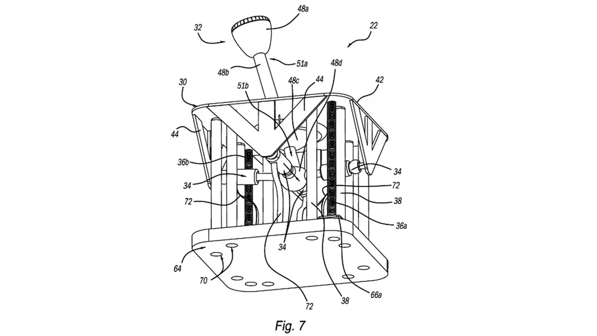
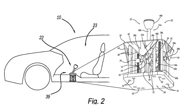
Ford a donc déposé un brevet auprès de l’Office américain des brevets. Le document, intitulé « Shifter Assembly for Electric Vehicle », décrit un levier de vitesse placé sur un boîtier, destiné à imiter les sensations d’une boîte manuelle dans une voiture électrique.



Il ne s’agit pas d’un vrai système mécanique relié à une boîte de vitesses, comme dans les véhicules thermiques. Le dispositif repose uniquement sur des actionneurs électroniques et des moteurs, contrôlés par logiciel. Il peut reproduire différents schémas de passage de vitesses, comme une grille en H ou un mode séquentiel.

Oui oui, Ford veut remettre un levier de vitesse dans ses voitures électriques


Aucune utilité mécanique



Contrairement à une boîte manuelle classique, ce levier ne commande aucun engrenage. Il est uniquement là pour créer une interaction physique avec le conducteur. Ford explique dans le brevet que le système permet de « gérer le flux d’énergie électrique », c’est-à-dire de modifier la réponse du moteur en fonction du “rapport” sélectionné.

Le levier pourrait aussi proposer plusieurs niveaux de retour haptique : résistance variable, vibrations, sensation d’enclenchement d’un rapport… Tous ces éléments doivent permettre de reproduire le toucher d’une vraie boîte de vitesses.

L’intérêt principal, selon Ford, est de rendre la conduite d’un véhicule électrique un peu moins monotone. Vous le savez si vous en avez déjà conduit une, contrairement aux moteurs thermiques, les moteurs électriques délivrent leur puissance de manière linéaire, sans les à-coups ou montées en régime que certains conducteurs apprécient.

Oui oui, Ford veut remettre un levier de vitesse dans ses voitures électriques


Un concept déjà exploré ailleurs



Ford n’est pas le seul à s’intéresser à ce genre de solution. Toyota travaille depuis 2022 sur un système similaire, avec un faux levier et même une fausse pédale d’embrayage. Hyundai propose aussi un mode avec palettes au volant sur sa Ioniq 5 N, qui simule les passages de vitesses et même le bruit d’un moteur thermique.

Dans tous les cas, ces systèmes n’apportent aucun gain en performance. Ils servent uniquement à rendre la conduite plus « vivante », en imitant les codes des voitures anciennes.

Pour l’instant, ce levier n’est qu’à l’état de brevet. Il n’est pas certain qu’il soit intégré à un modèle de série, même si Ford pourrait l’envisager sur un futur modèle sportif, comme un Mustang électrique par exemple. En attendant, vous pouvez toujours faire semblant de rétrograder avec des bruits de bouche.