Actualité

iPhone

Brevet : Apple voudrait faire de l’iPhone une télécommande universelle

Par Laurence - Publié le

Un petit détour vers l'USPTO s'impose ce matin. En effet, Apple continue d’explorer de nouvelles façons d’améliorer l’expérience utilisateur avec un brevet récemment accordé sur le contrôle à distance des appareils. Au centre de cette innovation, on retrouve le produit phare de la firme : l’iPhone !

Apple USPTO


Un iPhone transformé en Télécommande Universelle



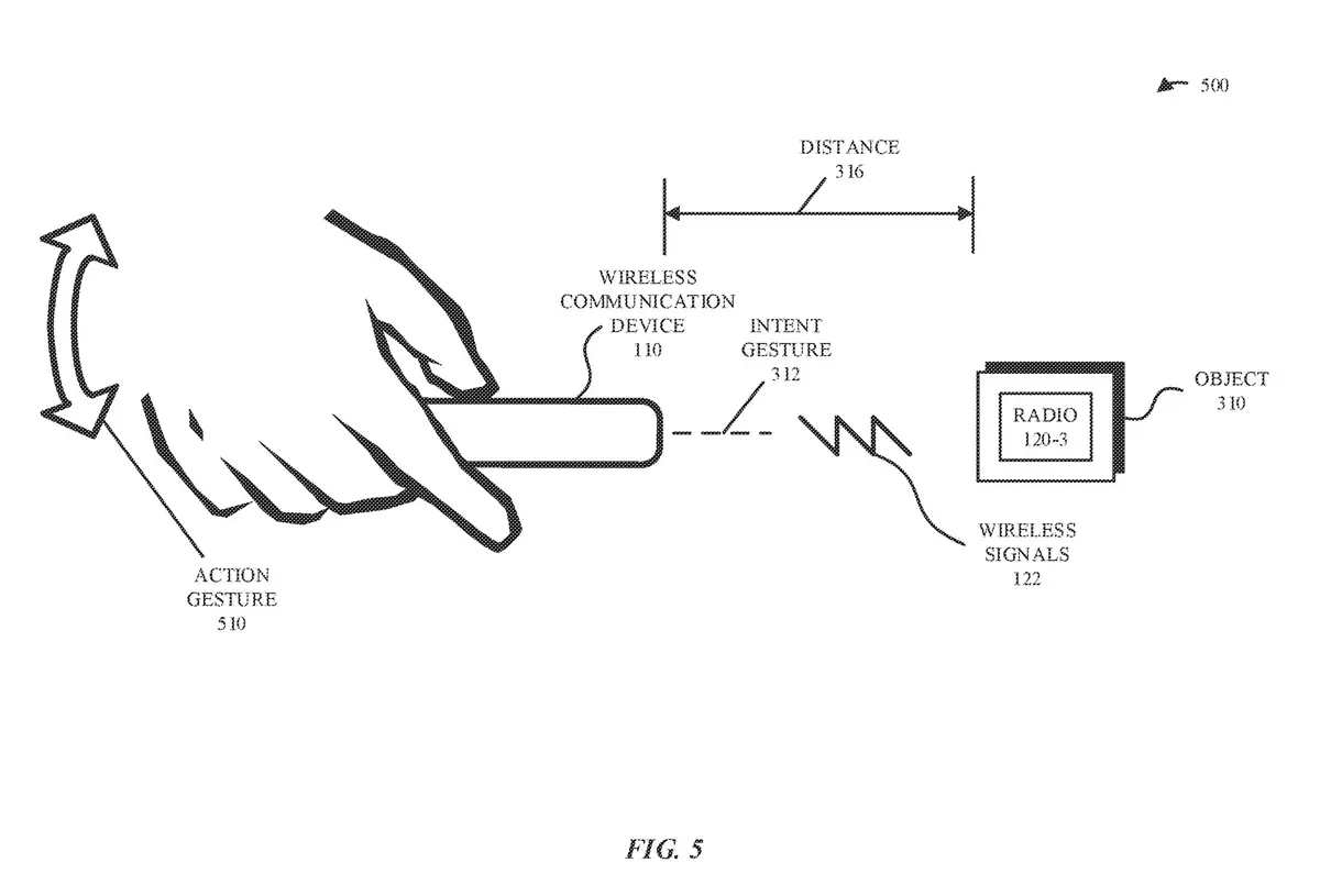
Ce brevet repose sur un appareil de communication sans fil (en vo Controlling Electronic Devices Based On Wireless Ranging), probablement un iPhone, même si le brevet n’exclut pas l’iPad. Celui-ci serait doté de pouvoirs magiques ! Il serait ainsi capable de détecter l’intention de l’utilisateur -s'il est suffisamment proche- à travers ses mouvements via des capteurs intégrés.

Brevet : Apple voudrait faire de l’iPhone une télécommande universelle


Apple justifie cette avancée en expliquant que l’utilisation actuelle des appareils peut entraîner des interactions frustrantes, amoindrissant l’expérience utilisateur. Ce système permettrait une interaction plus fluide, qui simplifierait le quotidien.

Plutôt que d’ouvrir une application ou d’utiliser des boutons spécifiques, il suffirait d’agiter son iPhone pour allumer un téléviseur, régler le volume ou même activer un appareil connecté comme une bouilloire ou un système audio. Notons qu'il est déjà possible d'agiter son iPhone pour annuler la dernière action par exemple.

Brevet : Apple voudrait faire de l’iPhone une télécommande universelle


Comment cela fonctionne ?



Le brevet décrit un processus en plusieurs étapes, la première étant la détection de l’intention de l’utilisateur. Ainsi, l’iPhone va identifier la volonté d’interagir avec un appareil à proximité. Il va alors identifier l’appareil cible (grâce à la distance, l’orientation et l’analyse des gestes). L’utilisateur devra alors confirmer le choix proposé avant que l’iPhone ne puisse transmettre la commande (par exemple changer de titre dans une playlist).

Apple a déjà expérimenté ce type d’intégration avec l'Apple Watch et Apple Car Key, qui permettent respectivement de déverrouiller un Mac ou une voiture sans interaction physique directe. Ce nouveau brevet pourrait encore simplifier ces processus et offrir une expérience mains libres complète. Ce brevet pourrait également aller encore plus loin en permettant d'enlever certaines demandes d’authentification.

Cette innovation pourrait enfin s’intégrer dans le futur HomePad d’Apple (le petit panneau de contrôle en préparation aux côté des autres nouveautés domotiques attendues en 2025). On peut imaginer une maison où tous les appareils Apple et domotiques réagissent simplement à un mouvement de l’iPhone.

Home Pod Ecran